一、VSM的定义

(一)何为VSM价值流程图分析

Value Stream Mapping,取每个单词的前一个字母,翻译成中文为价值流程图,是实现精益生产而寻找和减少过程浪费的工具方法之一,其他工具包括:

​ 5S & 目视化管理 Visual Management。

​ 精益制造 Lean Manufacturing。

​ 平衡生产线Line Balancing,均衡载荷Daily Level-Loaded Scheduling,缩短作业准备时间QCO,广告牌拉动Kanban Pull, 差错预防Error Proofing,单元设计Cell Design,全员设备维护TPM,改善Kaizen,6西格玛6 Sigma。

​ 供应链管理 Supply Chain Management。

​ 需求管理 Demand Management。

​ 价值流Value Stream:一个产品通过其基本生产过程所要求的全部活动(包括增加价值的活动和不增加价值的活动)。

​ 价值流程图Value Steam Map:从宏观角度观察和描绘产品的信息流和物流,从供应商到生产厂家,再到客户的所有流程和路径的图,包括现状图和未来图(丰田称之为物料和信息流图)。

价值流程图分析 Value Stream Mapping,是一套通过画价值流程图来改善流程的工具和方法。在此,我们需要了解两个含义:

第一个是:什么是生产中的增值?

站在客户的立场上有四种增值的工作:

(1)使物料变形(如冲压)。

(2)组装。

(3)改变性能。

(4)产品包装。

其实物料从进厂到成品出厂这段过程,一般只有不到10%的增值时间。

第二个是:什么是生产中的浪费?

除了使产品增值所需的物料、设备和人力资源的绝对最少量以外的东西,任何非必需的东西(如搬运)。

例如:可乐罐的价值流如图7-1所示。

图7-1 可乐罐的价值流

加工时间:3 小时。

储存和运输时间:11 个月。

累计报废:24%。

不同行业的价值分析数据会有一些差异,如表7-1所示。

表7-1 不同行业的价值分析数据

行业

工序总数

增值工序数

增值比%

玻璃制品

72

6

8

食品

37

4

11

纺织

105

11

10

金属

187

13

7

电子

239

19

8

消费产品

105

10

10

生产支持

98

15

15

(二)画价值流程图的目的

(1)超越单个工艺过程层次而建立宏观生产流程的能力。

(2)帮助发现浪费及浪费源。

(3)展示了信息流与物流之间的联系。

(4)提供一个与各级沟通的工具。

(5)根据流动障碍确定改善的优先次序。

(6)使精益的概念与技术结合起来,避免只挑容易的来改进。

(7)形成实施计划的基础。

(8)为未来的“完美”境界展现一份蓝图。

(三)画价值流程图的要点

(1)通常在巡视时收集信息。

(2)先快速浏览门对门情况。

(3)从发货点和工作上游开始。

(4)自己计算(回避系统里的数字)。

(5)自己做整个流程。

(6)用笔纸记录整个路线,前期拒绝用电脑。

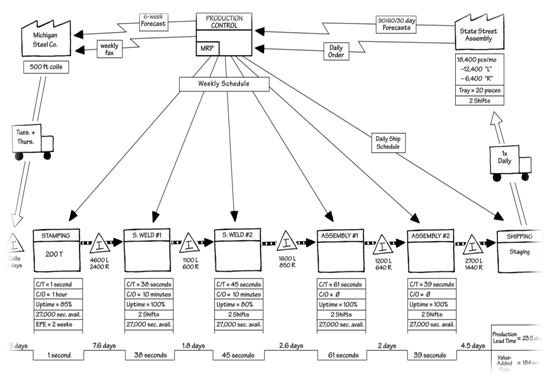
示例:绘制好的价值流程图如图7-2所示。

图7-2 绘制好的价值流程图